Laagbolkopschroef M12x25
Inbusbolkopschroef M12x25 – ISO 7380
De M12x25 inbusbolkopschroef volgens ISO 7380 is een moderne bevestigingsoplossing wanneer je een nette uitstraling wilt en een lagere inbouwhoogte dan bij een standaard cilinderkopschroef. De afgeronde bolkop zorgt voor een strakke, afgewerkte look, terwijl je de schroef nog steeds stevig kunt aantrekken met een inbussleutel—ideaal voor zichtwerk en compacte constructies. Gemaakt van staal, sterkteklasse 10.9 en verzinkt voor corrosiebescherming, biedt hij een betrouwbare klemkracht voor dagelijks industrieel gebruik.
Waarom kiezen voor een bolkopschroef?
- Lagere kophoogte: handig bij beperkte ruimte of wanneer onderdelen dicht langs de bevestiging bewegen
- Moderne uitstraling: afgeronde kop geeft een nette, professionele afwerking op zichtbare oppervlakken
- Inbusaandrijving: betrouwbaar vastzetten en eenvoudig monteren, ook op lastig bereikbare plekken
Typische toepassingen
- Aluminium T-slot profielconstructies en accessoires
- Afdekkappen, beugels en panelen waar de bevestiging zichtbaar blijft
- Automatisering, opspanningen en compacte assemblages
- Projecten waarbij je een gladder oppervlak met minder scherpe randen wilt
Belangrijkste specificaties
- Maat: M12 × 25 mm (metrische draad; lengte gemeten vanaf onder de kop)
- Aandrijving: Binnenzeskant (voor 8 mm inbussleutel)
- Materiaal: Verzinkt staal, sterkteklasse 10.9
- Norm: ISO 7380
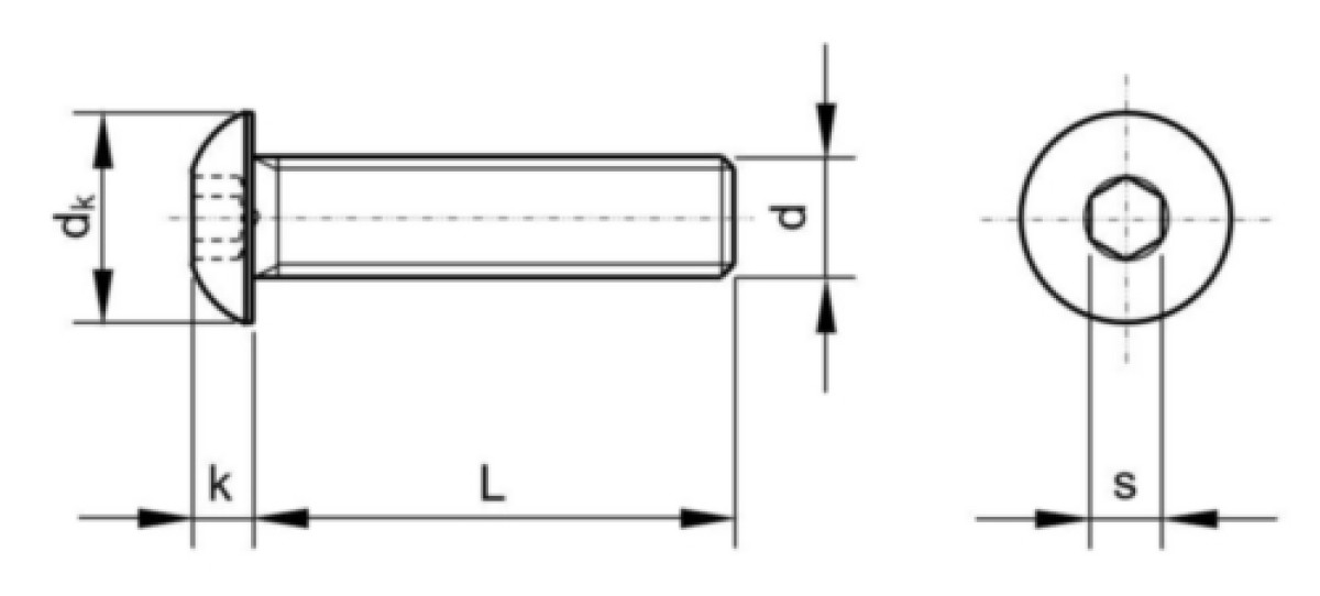
Afmetingen (ISO 7380) – M12x25 (volgens tekening)
- L: 25 mm
- dk max: 21,00 mm
- dk min: 20,48 mm
- k max: 6,6 mm
- k min: 6,24 mm
- s (nom): 8 mm
Gebruik met onze aluminium T-slot profielconnectoren
Bolkopschroeven passen perfect bij aluminium profielsysteem-constructies wanneer je een compacte kop en een nette afwerking wilt op beugels, platen en accessoires. Combineer deze M12 schroef met onze bevestigingsonderdelen, zoals:
- T-moeren / schuifmoeren / hamermoeren (afhankelijk van het slotsysteem) voor montage in de profielgroef
- Hoekbeugels en montageplaten waarbij een lagere kophoogte extra speling geeft
- Plaat- en vlakke connectoren voor nette, laagprofiel assemblages
Kwaliteit & beschikbaarheid
Wij leveren hoogwaardige bevestigingsmaterialen en aluminium profielaccessoires en houden een grote voorraad aan—zodat we zowel kleine doe-het-zelf bestellingen als grote B2B-projecten snel en betrouwbaar uit voorraad kunnen leveren.
Gerenderde inbusbolkopschroef M12x25 (ISO 7380), verzinkt staal Inbusbolkopschroef M12x25 (ISO 7380) – maattekening (L, dₖ, k, s)
