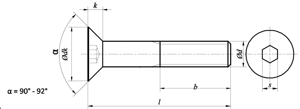
Verzonken inbusbout M6x20
€0,09
€0,11
inclusief 21% btw
Verzonken inbusbout DIN 7991 / ISO 10642 M6x20
Sterkteklasse 010.9, staal verzinkt
L = 20 mm
⌀dkmax = 13.44 mm
⌀dkmin = 11.34 mm
kmax = 3.72 mm
snom. = 4 mm
Specificaties
Artikelnummer ISO 10642-M6x20
EAN-nummer 6090904899897
Gewicht 0,0044 kg
Materiaal
Staal
Kleur
Zilver
Schoefdraad
M6
Uitvoering
Verzinkt
DIN / ISO
ISO 10642
Lengte (mm)
20
