Verzonken inbusbout M8x10
€0,11
€0,13
inclusief 21% btw
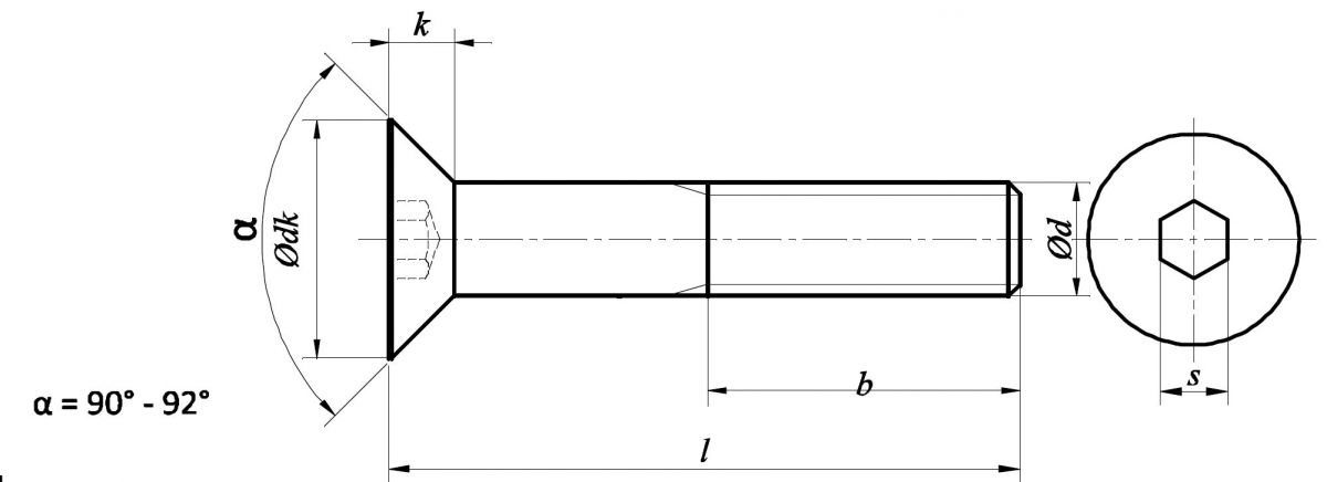
Verzonken inbusbout DIN 7991 / ISO 10642 M8x10
Sterkteklasse 010.9, staal verzinkt
L = 10 mm
⌀dkmax = 17.92 mm
⌀dkmin = 15.24 mm
kmax = 4.96 mm
snom. = 5 mm
Specificaties
Artikelnummer ISO 10642-M8x10
EAN-nummer 6090903462498
Gewicht 0,0085 kg
Materiaal
Staal
Kleur
Zilver
Schoefdraad
M8
Uitvoering
Verzinkt
DIN / ISO
ISO 10642
Lengte (mm)
10
